+86-15996058266
Rumah / Berita / Paten & Keunggulan E-ASIA / Paten & Keunggulan E-ASIA

Paten & Keunggulan E-ASIA

Tampilan:0     Penulis:Editor Situs     Publikasikan Waktu: 2022-08-17      Asal:Situs

Menanyakan

facebook sharing button
twitter sharing button
line sharing button
wechat sharing button
linkedin sharing button
pinterest sharing button
whatsapp sharing button
sharethis sharing button

Kami dapat menawarkan bantalan kawin dari lurgy logam, truk pertambangan dan bentuk plat bor lepas pantai dan perbaikan bantalan dengan produk dan layanan berkualitas tinggi kami


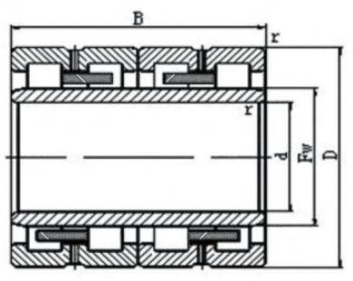
Umur panjang bantalan rol silinder empat baris

Bantalan rolling mill silinder empat baris dibagi menjadi dua jenis rolling mill baja dan rolling mill aluminium.Kecepatan putarannya masing-masing adalah 400-600rpm (baja) dan 1500-2000rpm (aluminium).


Bantalan rol silinder empat baris dapat membawa beban radial dan beban kejut yang jauh lebih berat.Mereka memiliki presisi yang lebih tinggi dan dapat diterapkan pada peralatan yang bekerja dengan kecepatan rotasi tinggi.Menggiling permukaan raceway dan roller pada saat yang sama setelah cincin bagian dalam ditekan pada leher roller, ini mendukung peningkatan presisi penggulungan dan penyesuaian bebas jarak pemasangan bantalan.Bantalan ini sebagian besar diterapkan pada rol kerja dan rol cadangan dari rolling mills dan beberapa kasus lainnya.
FC: cincin luar ganda, cincin dalam tunggal, dan bagian dalam tanpa flensa.
FCD: cincin luar ganda, cincin dalam ganda, dan cincin dalam tanpa flensa.
FCDP: cincin luar ganda, hanya memiliki flensa tengah, tetapi dengan tulang rusuk yang longgar, cincin dalam ganda, bagian dalam tanpa flensa.


Bantalan No Dimensi (mm) Pemuatan Dasar (kN) Massa (kg)
dxDxB Din.(Cr) Stat.(Kor)
FC2640125 130x200x125 530 1200 14.6
FC3045120 150x225x120 645 1450 16.7
FC3246130 160x230x130 665 1705 16.9
FC3248124 160x240x124 685 1530 20.3
FC3248168 160x240x168 685 1530 26.4
FCD3446160 170x230x160 1100 2360 20
FC3452120 170x260x120 660 1790 24.6
FC3652124 180x260x124 735 1730 21.7
FC3652168 180x260x168 1070 2790 30.2
FC3652168/YA3 180x260x168 1070 2790 30.1
FC3854168 190x270x168 950 2430 30.2
FC3854168/YA3 190x270x168 950 2430 29.9
FC3854170/YA3 190x270x200 950 2430 30.2
FC4056188 200x290x192 985 2580 35.7
FC4462192/YA3 220x310x192 1300 1910 45.8
FC4462225 220x320x210 1450 4050 53.9
FC4666206/YA3 230x330x206 1350 3800 56.5
FC4866220/YA3 240x330x220 1620 4850 56.5
FC4866220 240x330x220 1620 4850 56.7
FC4872220 240x360x200 1700 4410 78
FC4872220A/C4YA3 240x360x200 1700 4410 78
FC5072220/YA3 250x360x220 1500 4250 76.9
FC5274200 260x370x200 1570 4250 73
FC5274220/YA3 260x370x220 1760 4900 79.2
FC5274220 260x370x220 1760 4900 80
FC5476230/YA3 270x380x230 1720 4800 80.2
FC5478230 270x390x236 2100 5950 97.8
FC5678220 280x390x220 1790 5150 86.5
FCDP5678275 280x390x275 2200 6250 102
FC6490240/YA3 320x450x240 2460 6720 119
FCD72102370 360x510x370 3850 11400 220
FCDP74104380 370x520x380 3900 12000 296
FCDP88124450 440x620x450 5200 15800 452
FCDP88124450/YA6 440x620x450 5200 15800 452
FCD96130450 480x650x450 4750 15400 419


Sejarah 60 tahun dari yayasan, bantalan E-ASIA telah memperoleh merek SLYB, JSS.
Hubungi Kami
  NO.88, gedung E-ASIA lantai 1-6, taman industri Jingjiang, provinsi jiangsu, Cina
  sales@zwz-skf.com
  +86-15996058266
  rachelsun168

Produk

Tautan Langsung

Hak Cipta © 2023 E-ASIA Bearing Co.,Ltd.  Sitemap Didukung oleh Leadong